QQ登录

只需一步,快速开始

微信登录,快人一步

扫码登录更安全

登录 | 注册帐号 | 找回密码

茂名论坛

  • 关注抖音号
  • 关注公众号
  • 下载APP
  • 扫码关注抖音号
  • 扫码关注公众号
  • 扫码关注APP
快捷导航
查看: 17251|回复: 40

[今日关注] 回应民生诉求!茂名住宅小区加装电梯方案(草案)出炉!

[复制链接]
发表于 2021-1-14 11:29 | 显示全部楼层 |阅读模式

未命名1610594878.jpg

茂名市市辖区既有住宅增设电梯办法

(草案)

第一条 为适应社会经济发展,完善既有住宅的使用功能,提高宜居水平,方便居民生活,根据根据《中华人民共和国民法典》、《中华人民共和国物权法》、《中华人民共和国建筑法》、《中华人民共和国城乡规划法》、《广东省既有住宅增设电梯的指导意见》等有关规定,结合本市实际,制定本办法。

第二条 本办法所称的既有住宅,是指具有合法报批手续或权属证明,已建成投入使用的无电梯住宅。

对于单梯为单一产权的住宅、别墅及已列入房屋征收改造计划的住宅,不适用本办法。

本市市辖区内既有住宅增设电梯的,适用本办法。

市自然资源部门授权的区规划办公室负责受理和审批既有住宅增设电梯规划许可的有关事项,不需提交茂名市城市规划委员会审议和市政府批准。

市、区其他相关部门根据本部门职责负责受理和审批既有住宅增设电梯的有关事项,并将此类事项纳入审批绿色通道,按特事特办的原则予以办理。

第三条 既有住宅增设电梯应当满足有关城市规划、建筑设计、结构安全和消防安全和电梯安全等规范、标准的要求。

加装电梯设计方案具体要求如下:

(一)电梯井占地尺寸不超过2.5米×2.5米;

(二)新增通道的设置长度满足必要使用要求,不得过长,原则上只能在原建筑第一开间入户,房屋存在特殊结构或特殊使用功能(厨房、厕所等)的除外;

(三)候梯厅可以局部突出,深度为1.5米,房屋存在特殊结构或特殊使用功能(厨房、厕所等)的除外;

(四)新增入户通道投影范围原则上不得超出侯梯厅垂直方向外侧及第一开间水平方向外侧所围合的范围(与电梯井等宽相连的连廊除外);

(五)电梯井若需占用现状通道,应确保剩余的通道宽度(可通过改造方式实现)不小于1.5米(供人行和非机动车通行)、或者4米(供机动车通行)。

(六)加装电梯必须严格遵守有关防火设计验收规范要求,不得影响原建筑物及小区的消防设备、逃生出口和消防排烟、通风等消防设施。

(七)加装电梯必须严格遵守有关防火设计验收规范要求,不得影响原建筑物及小区的消防设备、逃生出口和消防排烟、通风等消防设施。

第四条 既有住宅增设电梯的,不另行收取市、区收入范围内的行政性收费,服务性收费除外。

第五条 既有住宅增设电梯的意向和建筑设计方案应当充分听取拟增设电梯所在物业管理区域范围内全体业主的意见,并经专有部分面积占比三分之二以上的业主且人数占比三分之二以上的业主参与表决,并应当经参与表决专有部分面积四分之三以上的业主且参与表决人数四分之三以上的业主同意。但增设电梯拟占用业主专有部分的,应当征得该专有部分的业主同意。(专有部分是指房产证登记部分或实际使用的合法部分建筑)。

第六条 同意增设电梯的业主应当以书面协议形式达成以下事项解决方案:

(一)增设电梯工程费用的预算及其筹集方案;

(二)电梯维护保养方式及其保养维修费用分担方案;

(三)与不同意增设电梯的业主展开协商。

(四)确定电梯使用管理人。

第七条 既有住宅增设电梯所需要的资金,可以按照以下方式筹集:

(一)根据所在楼层等因素,由业主按照一定的分摊比例共同出资,分摊比例由共同出资业主协商确定;

(二)可以申请使用单位住房基金;

(三)可以申请使用房屋所有权人名下的住房公积金、住宅专项维修资金;

(四)原产权单位或者原房改售房单位(不包括财政拨款的预算单位)出资;

(五)社会投资等其他合法资金来源。

第八条 以下单位或个人(以下统称申请人)可作为既有住宅增设电梯的主体,依照本办法规定提出增设电梯的相关申请:

(一)业主或者业主代表可以提出申请,也可以由业主委员会提出申请。申请的业主人数超过5人的,应当推选不超过5名业主作为代表;

(二)拟增设电梯的住宅属于房改房的,业主可以委托原房改售房单位提出申请;原房改售房单位已经关闭、破产、撤销,其住房维修基金已转归其上级主管部门管理的,也可以委托上级主管部门申请办理。

第九条 既有住宅增设电梯,已经预留电梯井的,不需要办理规划许可手续、消防手续。

既有住宅未预留电梯井的,应当向自然资源主管部门申请办理建设工程规划许可证,并按照以下程序办理:

(一)申请人按规定向自然资源主管部门提出申请;

(二)自然资源主管部门根据城乡规划相关规定和技术标准审定建筑设计方案。在发出建筑设计方案审定通知书之前应当进行批前公示。批前公示应当在拟增设电梯的工程现场、自然资源主管部门网站同时进行,公示期不少于10日。经公示后无异议的,经审核符合法定条件的,向申请单位发出建筑设计方案审定通知书;

(三) 领取建筑设计方案审定通知书后,应向具备资质的审图机构申请施工图审查,申请人应当及时向自然资源主管部门申领增设电梯的建设工程规划许可证,并在建设工程规划许可证的有效期内动工建设;

(四)依法需要办理消防手续的,取得建设工程规划许可证后应向住房城乡建设部门申请办理相关手续。

第十条 自然资源主管部门对增设电梯申请,应当依据法律法规规章等规定、相关技术标准与规范以及本办法有关规定进行审查;对符合上述规定的,依法核发建设工程规划许可证。

第十一条 对业主提出的增设电梯影响通风、采光或通行等建筑设计问题,自然资源主管部门审查时,应当进行现场勘察。增设电梯设计方案违反国家、省有关住宅设计规范中通风、采光、通行等强制性技术标准与规范的,应当要求申请人修改设计方案。设计方案不违反国家、省有关强制性技术标准与规范的,应当要求申请人与受影响业主进行协商,或者修改设计方案。

第十二条 公示期间,可能受到影响的利害关系人对增设电梯事项有异议的,应实名向自然资源主管部门提出书面反对意见。自然资源主管部门及时将实名制书面反对意见反馈申请人, 申请人应当与提出异议的业主自行协商。经自行协商仍有异议无法达成共识的,申请人可以请求属地镇政府或者街道办事处人民调解委员会、相关行政管理部门组织协商或者调解,组织协商或者调解的第三方出具协商情况说明或者调解意见。

经自行协商仍有异议无法达成共识的,申请人可以委托具有相应资质的工程设计单位或咨询机构编制评估报告,对增设电梯是否对提出异议业主的权益产生实质性影响进行评估。

第十三条 经第三方协商或者调解仍有异议无法达成共识,且经评估增设电梯对提出异议业主的权益不产生实质性影响的, 申请人可以提出增设电梯设计方案联合审查申请,各部门按职责出具审查意见。

(一)自然资源部门负责审核增设电梯项目是否在原批准的用地红线范围内,是否侵占城市道路,是否影响城市规划实施;审查建筑设计方案,一并出具是否同意增设电梯的意见及对设计方案的审查意见;

(二)住房城乡建设部门负责审核设计单位是否已明确拟增设电梯住宅结构承载力满足房屋正常使用要求且房屋结构安全,审查增设电梯项目是否符合技术指引规定的消防要求,出具审查意见及是否同意增设电梯的意见。

各部门出具符合要求的审查意见且对增设电梯无不同意见的,对增设电梯建筑设计方案予以审批。

第十四条 申请人应当依照法律法规的规定委托具有相应资质的单位进行建筑方案设计、施工图设计、施工图设计审查、施工和监理。

申请人应当按照国家、省的规定办理建设工程质量安全监督登记手续、申请领取建筑工程施工许可证;已预留电梯井的既有住宅增设电梯,可以不办理质量安全监督登记手续和申领建筑工程施工许可证。

第十五条 取得建筑工程施工许可证(按规定无须办理建筑工程施工许可证的,则需取得建设工程规划许可证)后,申请人可到所在地供电部门申请办理临时用电业务和永久用电业务。

既有住宅增建电梯工程(包括加建电梯井道和电梯设备安装)的投资额在100万元以下或建筑面积在500平方米以下,建设单位可以不申领建筑工程施工许可证;限额以上的工程,建设单位必须申请办理施工许可证。

已预留电梯井的,申请人可直接到所在地供电部门申请办理临时用电业务和永久用电业务。

第十六条 电梯井道工程竣工后须经规划验收及业主组织验收合格后,方可进行电梯的安装施工。既有住宅增设电梯的施工安装,应当符合《中华人民共和国特种设备安全法》、《广东省特种设备安全条例》、《广东省电梯使用安全条例》和电梯安装技术标准的要求,应当由具有相应资格(资质)的电梯安装单位进行安装,并依法办理安装施工前告知和监督检验等手续。

第十七条 既有住宅增设电梯的业主应当共同委托物业服务企业或者其他单位管理电梯,受委托的物业服务企业或者其他单位为电梯使用管理人;未委托的,应当按照本办法第六条第(四)项的规定协商约定其中一名业主为电梯使用管理人,其他业主承担连带安全管理责任,并应当在电梯投入使用前或者投入使用后三十日内,向负责特种设备安全监督管理的部门办理使用登记,取得使用登记证书。此后的电梯使用管理、日常维护保养、定期检验等事项按国家有关规定执行。

第十八条 按照本办法规定办理规划审批手续的增设电梯工程竣工后,申请人应当到自然资源主管部门办理建设工程规划核实手续。

办理建设工程规划核实手续所需申请资料依照自然资源主管部门公布的操作指引执行。

第十九条 规划核实合格后,申请人还应当依照法律、法规的规定组织建设工程竣工验收。竣工验收合格的,方可交付使用。申请人应当在工程竣工验收合格后6个月内向城建档案管理机构移交建设工程档案,依法必须办理施工许可的还应当自工程竣工验收合格之日起15日内向建设行政主管部门办理竣工验收备案。

第二十条 既有住宅增设电梯后,需要对因增设电梯而新增的建筑面积进行不动产测绘的,应委托具备法定不动产测绘资质的单位进行。原产权单位出资增设电梯的,由原产权单位委托;房屋所有权人共同出资增设电梯的,由房屋所有权人共同委托。

第二十一条 不动产测绘成果用于不动产权属登记的,不动产登记机构应按有关规定对测绘成果进行审核,审核后的不动产测绘成果按加建部分与原建筑主体一致一体登记原则(以后有法律法规规定的从其规定)及以下情形办理不动产登记:

(一)房屋所有权人共同出资增设电梯,房屋所有权人共同申请将新增设的建筑面积按公摊面积分摊到户的,由不动产登记机构按分层分户建筑面积给予办理不动产登记;

(二)房屋所有权人共同出资增设电梯,房屋所有权人未能就将增设电梯的建筑面积按公摊面积分摊到户共同提出申请的,可按照不动产登记有关规定,由相关房屋所有权人向不动产登记机构申请记载在不动产登记簿上,可不调整各业主的公摊部分面积。

第二十二条 对已获得建设工程规划许可,并依法办理有关施工手续的增设电梯工程,相关业主应当提供必要的施工便利,不得阻挠、破坏施工。

第二十三条 业主认为因增设电梯侵犯了自己的所有权和相邻权等合法权益的,应由业主之间协商解决,或依法通过民事诉讼途径解决。

业主认为因增设电梯的有关行政行为侵犯其合法权益的,可依法提起行政复议或行政诉讼。

第二十四条 违反本办法规定擅自增设电梯的,依照有关查处违法建设的法律、法规进行处理。

第二十五条 本办法自发布之日起施行,有效期5年。各县级市可参照执行。

来源:茂名市自然资源局

建议有一楼的楼上住户补偿一笔钱,二楼免费,这样旧楼加装电梯会快速和谐很多
看不懂,最好政府出钱建设,我们出入刷卡消费。
xjp0668 发表于 2021-1-14 12:42
看不懂,最好政府出钱建设,我们出入刷卡消费。

电梯烂了也没有收回成本{:62_1479:}
政府部门的装得快,是政府出资的?
发表于 2021-1-14 15:16 | 显示全部楼层
现在步梯房人口进入严重老龄化,建议政府出钱建设加装电梯,政府部门的装得快,业主出入刷卡消费。
发表于 2021-1-14 15:48 | 显示全部楼层
增设电梯拟占用业主专有部分的,应当征得该专有部分的业主同意。什么是专有部分?意思是房子结构不一样吗?
发表于 2021-1-14 15:52 | 显示全部楼层
二楼的业主一般不喜欢加电梯,本来二楼的是贵的,加了电梯后就不贵了
发表于 2021-1-14 15:56 | 显示全部楼层
才出炉?这两年江门装了很多套,天天都看到有公示
因为zf有补贴最高补贴10万
发表于 2021-1-14 16:01 | 显示全部楼层
就2021年以来这半个月时间不到,已经公示了20套加装电梯的申请
QQ截图20210114155831.jpg
QQ截图20210114155907.jpg
QQ截图20210114160003.jpg
发表于 2021-1-14 16:04 | 显示全部楼层
以上公示是江门三区的,
补贴整个江门都有,包括恩平都是最高补贴10万
发表于 2021-1-14 16:11 | 显示全部楼层
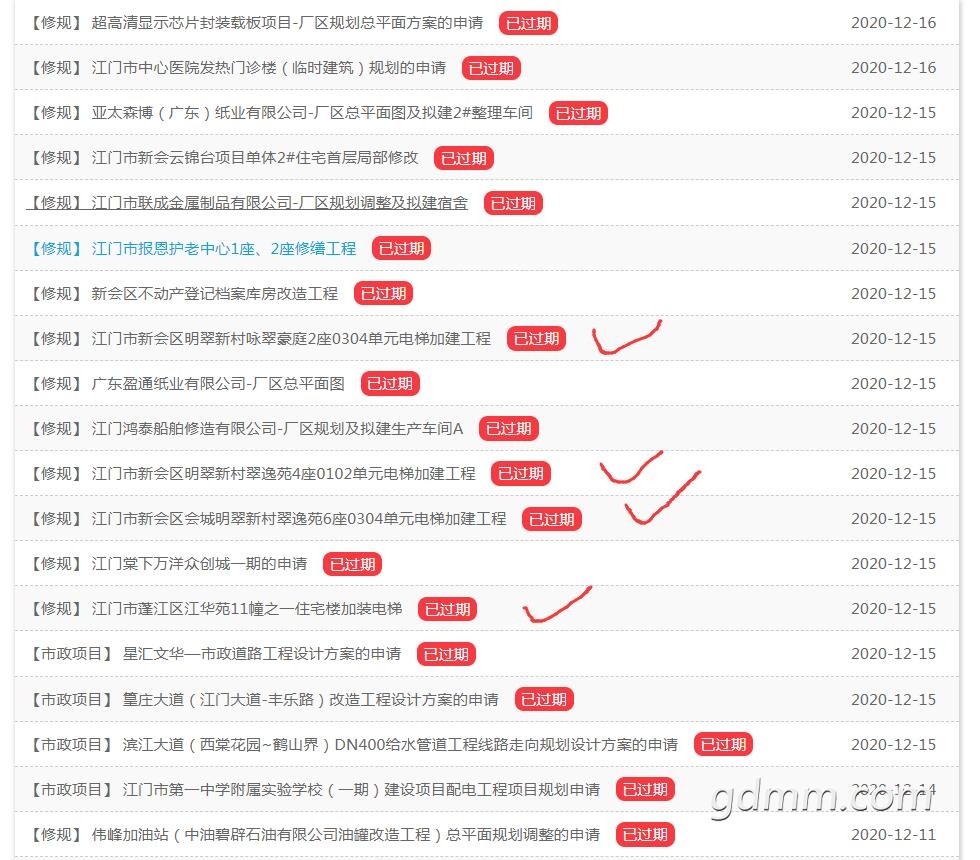
这是2020年12月的公示情况,加装电梯的有48个
QQ截图20210114160742.jpg
QQ截图20210114160702.jpg
QQ截图20210114160609.jpg
QQ截图20210114160539.jpg
QQ截图20210114160355.jpg
QQ截图20210114160003.jpg
QQ截图20210114155831.jpg
茂名政府应该给予10万元补贴!
现在的年轻人都搬到电梯房了,旧楼住的很多都是老人,所以旧楼家装电梯很有必要,二楼、三楼住户理应理解高层住户,高层住户也应该给予一定的补偿
发表于 2021-1-14 22:28 | 显示全部楼层
我是郑洪 发表于 2021-1-14 21:37
现在的年轻人都搬到电梯房了,旧楼住的很多都是老人,所以旧楼家装电梯很有必要,二楼、三楼住户理应理解高 ...

旧楼装电梯,新建的电梯房很快就会过剩

您需要登录后才可以回帖 登录 | 注册帐号

本版积分规则

友情链接:
返回顶部
返回列表 快速回复