QQ登录

只需一步,快速开始

微信登录,快人一步

扫码登录更安全

登录 | 注册帐号 | 找回密码

茂名论坛

  • 关注抖音号
  • 关注公众号
  • 下载APP
  • 扫码关注抖音号
  • 扫码关注公众号
  • 扫码关注APP
快捷导航
查看: 6848|回复: 13

[今日关注] 茂东片区又一靓地成功拍出,与茂名万达相邻的70.51亩城镇住宅、零售商业土地

[复制链接]
发表于 2022-12-28 15:06 | 显示全部楼层 |阅读模式
位于东粤南路与双山八路交界处,周边配套完善,学校,公园,大型商场应有尽有

茂名市银鹰房地产开发有限公司
31391万元竞得

8d95356eb41dfe137e8a57facedb394.png 705c4ad575c68d39f5e3280286f5190.png
 楼主| 发表于 2022-12-28 15:18 | 显示全部楼层 |来自:茂名在线安卓版茂名在线APP
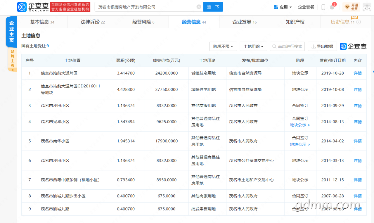
茂名市银鹰房地产开发有限公司
关联公司有许多,在茂名市区和信宜市都有地块
20221228151646front2_0_3299883_Fj0k3v_libDuJAbY9Til6cJ5XrZk.png
20221228151645front2_0_3299883_Fhm9TIVdQniYA5xcmE-cx5LQoWtk.png
20221228151646front2_0_3299883_FvGocKxcKMt4Z8MvIpq8Y8IT9bBK.png
20221228151646front2_0_3299883_FpoSChmXG66fFOkXwgAftK-n89P8.png
 楼主| 发表于 2022-12-28 15:22 | 显示全部楼层
茂名市银鹰房地产开发有限公司为茂名本土综合实力品牌开发商,先后在茂名开发建设了“骏景花园”、“华景花园”、“汇景花园”及“中银名苑”等项目,形成成熟的房地产开发理念。
 楼主| 发表于 2022-12-28 15:33 | 显示全部楼层 |来自:茂名在线安卓版茂名在线APP
茂名市银鹰房地产开发有限公司在茂名市区和信宜城区都有土地,为茂名本土综合实力品牌开发商,银鹰地产自2002年以来,先后在茂名开发了茂名骏景花园、茂名华景花园、茂名汇景新城、1959南越文创街、茂名市中银名苑、茂名时代尚品、高州时代君悦府 等项目,形成成熟的房地产开发理念。
20221228153312front2_0_3299883_FnTykqUqXTk_E2F0xavOZDxXlLS8.png
是人民南银鹰酒店那个老板吗?
 楼主| 发表于 2022-12-28 15:36 | 显示全部楼层
还有信宜的  时代君悦  时代柏悦 楼盘
吴老板大手笔哦
油十小地主 发表于 2022-12-28 15:36
还有信宜的  时代君悦  时代柏悦 楼盘

这名字熟,高州也有,小打小闹的,就在万福城隔离
发表于 2022-12-28 16:51 | 显示全部楼层
可以查查  茂名市灏汇房地产有限公司   是什么来头吗? QQ拼音截图20221228165039.png
这下双山路热闹了
 楼主| 发表于 2022-12-28 17:13 | 显示全部楼层 |来自:茂名在线安卓版茂名在线APP
东方一员 发表于 2022-12-28 16:37
这名字熟,高州也有,小打小闹的,就在万福城隔离

是同一个开发商的!
东信、银鹰这几年推出都是豪宅项目
这块地,不是还有一栋楼没拆的吗?
打虎亲兄弟,上阵父子兵,患难见真情
您需要登录后才可以回帖 登录 | 注册帐号

本版积分规则

友情链接:
返回顶部
返回列表 快速回复